Авиатехника, Железнодорожная техника, Автотехника, Водная техника, Космическая техника, Военная техника, Сельскохозяйственная техника, Бытовая техника, Радиоэлектроника, Электрика, Энергетика, Механика, Мебель своими руками, Строительство, Ремонт, Приусадебное хозяйство, Инструменты, Полезные советы, Конструктор-конструктору, Технические статьи, Исторические хроники, Неопознанное, Из области фантастики, Полезные ссылки, Обмен ссылками, Размещение статей, рекламы
 

 
Лодку, катер, яхту своими руками, советы и чертежи, Пятнадцать проектов водных судов, гребных лодок, моторных лодок, катеров, яхт, как построить водное судно и спустить на воду

Все о конструировании, в помощь конструктору, советы бывалых, статьи для детского и взрослого творчества

Лодку, катер, яхту своими руками, советы и чертежи, Пятнадцать проектов водных судов, гребных лодок, моторных лодок, катеров, яхт, как построить водное судно и спустить на воду

Дата создания сайта: 24/02/2013
Дата обновления главной страницы: 10.06.2015 15:40

Лодку, катер, яхту своими руками, советы и чертежи  

Авиатехника
Железнодорожная техника
Автотехника
Водная техника
Космическая техника
Военная техника
Сельскохозяйственная техника
Бытовая техника
Для братьев наших меньших
Радиоэлектроника
Электрика
Энергетика
Механика
Мебель своими руками
Строительство
Ремонт своими руками
Приусадебное хозяйство
Инструменты
Полезные советы
Конструктор-конструктору
Технические статьи
Исторические хроники
Неопознанное
Из области фантастики
Полезные ссылки
Энциклопедия юного техника
Жизнь замечательных людей
Картины современной физики
Фокусы, секреты иллюзии

Размещение статей, реклама
Обмен ссылками

Конструирование своими руками, все для конструирования, из жизни конструктора, конструирование техники, из истории техники, детские конструкторы, полезные советы, технологические советы, работа с интсрументом, фантастические проекты, макеты техники, военная техника, достижения Российских конструкторов, ремонт своими руками, как сделать мебель, приборы своими руками, макеты кораблей, макеты самолетов, макеты автомобилей, чертежи, развертка, кострукторское бюро, все для юного техника, действующие модели, станки, работа на станках, слесарный иструмент, токарный инструмен, ремонт своими руками, ремонтируем сами, планировка и строительство, из области фантастики, техника для тебя.
 
 Наши партнеры  

Конструирование своими руками, все для конструирования, из жизни конструктора, конструирование техники, из истории техники, детские конструкторы, полезные советы, технологические советы, работа с интсрументом, фантастические проекты, макеты техники, военная техника, достижения Российских конструкторов, ремонт своими руками, как сделать мебель, приборы своими руками, макеты кораблей, макеты самолетов, макеты автомобилей, чертежи, развертка, кострукторское бюро, все для юного техника, действующие модели, станки, работа на станках, слесарный иструмент, токарный инструмен, ремонт своими руками, ремонтируем сами, планировка и строительство, из области фантастики, техника для тебя. Производим автошампуни для ручной и бесконтактной мойки автотранспорта, жидкие мыла, в т.ч. антибактериальные, средства для мытья посуды, уборки помещений, для ультразвуковой очистки деталей в ультразвуковых ваннах, моющие средства для наружной обмывки и внутренней уборки пассажирских железнодорожных вагонов, разрешенные к применению ВНИИЖТ на железнодорожном транспорте Качественное продвижение вашего сайта, быстрый рост ТИЦ и PR, регистрация сайтов в каталогах, размещение статей, рассылка объявлений на доски, email рассылки, рассылка электронных писем, регистрация предприятий в каталогах фирм, прогон сайтов по форумам, прогон по доскам объявлений, широкий выбор емаил рассылок, добавление ваших сайтов в поисковые системы Теория ультразвуковых колебаний, ультразвук на службе автолюбителей, ультразвуковые методы обработки, ультразвуковая очистка, ультразвуковая диагностика,купить ультразвуковые ванны в Саратове, технологии ультразвуковой очистки деталей в ультразвуковых ваннах, очистка форсунок инжекторов, моющие  и чистящие средства для ультразвуковой очистки в широком ассортименте, кислотные, щелочные, нейтральные моющие средства для ультразвуковых ванн и очистки купить в Саратове от производителя с доставкой в любые города России, тестовые жидкости для тестирования форсунок бензиновых и дизельных ДВС на производительность

Статистика Yаndеx   Яндекс.Метрика
Статистика Livеintеrnеt

 

 

 

Катер "Тюлень"

Основные данные

Длина наибольшая - 5,92 м

 по КВЛ - 5,26 м

Ширина наибольшая  - 1,90 м

 по КВЛ - 1,66 м

Высота борта на миделе -  0,91 м

Осадка - 0,40 м

Водоизмещение при осадке по КВЛ - 1,16 т

О достоинствах водоизмещающих лодок для дальних путешествий уже говорилось. Прежде всего, это возможность экономичного плавания с большой нагрузкой и на большие расстояния. Отправляясь в плавание, капитану такой лодки не приходится долго перебирать и мысленно взвешивать вещи: брать или не брать. Благодаря наличию рубки у него всегда готовы сухие койки, есть крыша на случай непогоды. А если и заштормит, мореходный водо-измещающий катер может не спеша продолжать путь даже на открытом водохранилище.

В проекте "Тюленя" (рис. 248) широко использован опыт постройки лодок местных типов, таких, например, как ладожская "финка", чудская "гдовка", волжская "великовражка", днепровский "каюк". Конструкция этих лодок обычно довольно проста: их строят из общедоступных материалов - досок и брусьев. В то же время длительный срок службы таких народных лодок подтверждает достаточную прочность и надежность их конструкции.

Корпус "Тюленя" может быть построен любым распространенным в данной местности способом (на гнутых или натесных шпангоутах, с обшивкой внакрой или вгладь). Опытный мастер может использовать в проекте свои привычные методы и имеющиеся материалы. Но в любом случае не следует отказываться, если, конечно, есть возможность, от применения водостойких клеев, фанеры, от оклейки стеклопластиком. Все эти современные материалы значительно повысят надежность судна, продлят срок его службы (рис. 249, табл. 25).

Чтобы отмыть днище лодки от водорослей воспользуйтесь моющим средством Фаворит-К для мойки днищ катеров и яхт

Обводы традиционных народных лодок вырабатывались длительно, при плавании с помощью шестов, на веслах или под парусом. Но слепо копировать их форму при постройке моторного судна, скорость которого по крайней мере вдвое больше, нет смысла. Разрабатывая проект "Тюленя", конструкторы исходили из того, что он будет развивать скорость 15-20 км/час; этому соответствует число Фруда

Напомним, что именно в этом диапазоне относительных скоростей судно идет как бы на гребне одной волны, которую оно само создает при движении, и имеет склонность к значительному ходовому дифференту на корму1. Для противодействия дифференту корпус "Тюленя" выполнен с широкой и плоской кормой, транец погружен на 5% от максимальной осадки; в носу ватерлинии заострены, а чтобы катер не потерял при этом способности всплывать на встречную волну, шпангоуты выполнены с расширением - с развалом к палубе. Для улучшения обитаемости и мореходности увеличена высота надводного борта катера.

Рис. 248. "Тюлень" : а - вид сбоку и план; 6 - сечения по шпангоутам. 1 - киповая планка; г - ножной леер; i = сии; л - носовой кнехт; 4 - сетка для личных вещей; 5 - платяной шкаф; 6 - ветровое стекло; 7 - штурвал; 8 - ручка газа; 9 - дуга тента; откидная (из алюминиевой трубы 20X2); 10 - носовая часть тента; 11 - кормовая часть тента; 12 - съемная дуга тента; 13 - бортовая ниша; 14 - рундук - кормовое сиденье в кокпите; 15 - кормовой кнехт; 16 - двигатель СМ-557Л; 19 - закладная лоска: 20 - матрас; 21 - съемный щиток койки; 22 - полка форпика; 23 - тумбочка; 24 - шарнирная дверь; 25 - топливный бак; 26 - кожух над мотором; 27 - сиденье-рундук; 28 - пайолы кокпита; 29 - степс флагштока или гакабортного огня; 30 - газовая плитка (примус); 31 - компас; 32 - выхлопной трубопровод; 33 - крышка ахтерпика; 34 - полочка; 35 -сдвижной люк.

Рис. 248. "Тюлень" : а - вид сбоку и план; 6 - сечения по шпангоутам. 1 - киповая планка; г - ножной леер; i = сии; л - носовой кнехт; 4 - сетка для личных вещей; 5 - платяной шкаф; 6 - ветровое стекло; 7 - штурвал; 8 - ручка газа; 9 - дуга тента; откидная (из алюминиевой трубы 20X2); 10 - носовая часть тента; 11 - кормовая часть тента; 12 - съемная дуга тента; 13 - бортовая ниша; 14 - рундук - кормовое сиденье в кокпите; 15 - кормовой кнехт; 16 - двигатель СМ-557Л; 19 - закладная лоска: 20 - матрас; 21 - съемный щиток койки; 22 - полка форпика; 23 - тумбочка; 24 - шарнирная дверь; 25 - топливный бак; 26 - кожух над мотором; 27 - сиденье-рундук; 28 - пайолы кокпита; 29 - степс флагштока или гакабортного огня; 30 - газовая плитка (примус); 31 - компас; 32 - выхлопной трубопровод; 33 - крышка ахтерпика; 34 - полочка; 35 -сдвижной люк.

Рис. 248. "Тюлень" : а - вид сбоку и план; 6 - сечения по шпангоутам. 1 - киповая планка; г - ножной леер; i = сии; л - носовой кнехт; 4 - сетка для личных вещей; 5 - платяной шкаф; 6 - ветровое стекло; 7 - штурвал; 8 - ручка газа; 9 - дуга тента; откидная (из алюминиевой трубы 20X2); 10 - носовая часть тента; 11 - кормовая часть тента; 12 - съемная дуга тента; 13 - бортовая ниша; 14 - рундук - кормовое сиденье в кокпите; 15 - кормовой кнехт; 16 - двигатель СМ-557Л; 19 - закладная лоска: 20 - матрас; 21 - съемный щиток койки; 22 - полка форпика; 23 - тумбочка; 24 - шарнирная дверь; 25 - топливный бак; 26 - кожух над мотором; 27 - сиденье-рундук; 28 - пайолы кокпита; 29 - степс флагштока или гакабортного огня; 30 - газовая плитка (примус); 31 - компас; 32 - выхлопной трубопровод; 33 - крышка ахтерпика; 34 - полочка; 35 -сдвижной люк.

Обводы катера позволяют установить любой стационарный двигатель мощностью от 10 до 30 л. с. В первом случае скорость будет около 12 км/час, а во втором - около 23 км/час. Наиболее экономичны четырехтактные двигатели, такие, как J1-12, АМ-401, УД-25, двигатель от автомобиля "Запорожец". Установка двухтактных двигателей CM-557J1, "Луч" и др. даст выигрыш в габарите и весе, но расход горючего на пройденный километр увеличится на 30-40%.

В туристском варианте катер "Тюлень" оборудован небольшой каютой с двумя спальными местами, шкафом для береговой одежды, столиком-бюро с выдвижными ящиками, рундуками под койками и полкой в форпике. Увеличивать размеры рубки, особенно ее высоту, не рекомендуется, так как в сильный ветер и с относительно слабым мотором управлять лодкой будет трудно, тем более, что, как правило, основным местом пребывания экипажа служит закрытый тентом кокпит. В кокпите размещается портативный камбуз и может быть установлен разборный стол, а бортовые рундуки на ночь превращаются в дополнительные спальные места. Словом, на катере "Тюлень" 4 человека могут отправляться в поход с несравненно большим комфортом, чем, скажем, на легковом автомобиле.

Рис. 249. Теоретический чертеж: а - проекции "Бок" и "Полуширота" ; б- проекция "Корпус" .

Рис. 249. Теоретический чертеж: а - проекции "Бок" и "Полуширота" ; б- проекция "Корпус" .

На чертеже общего расположения (см. рис. 248) показан двигатель CM-557JI. Если будет применен двигатель с большей длиной, то длину рубки придется сократить, передвинув ее кормовую переборку в нос, т. е. уменьшив объем шкафа 5 и тумбочки 23. Есть и другой выход. Использовав для передачи на винт угловой редуктор или клиноременную передачу, установить двигатель фланцем коленчатого вала вперед. Однако слишком далеко в корму смещать двигатель нельзя, иначе лодка получит нежелательный кормовой дифферент.

Таблица 25 Плазовые ординаты катера "Тюлень", мм (ординаты даны по наружной обшивке)

Таблица 25 Плазовые ординаты катера "Тюлень", мм (ординаты даны по наружной обшивке)

Корпус катера, как уже отмечалось, можно строить разными способами. Познакомимся с каждым из них.

Корпус с реечной обшивкой. Корпус обшивают рейками толщиной 20 и шириной 40-60 мм, прикрепляя каждую рейку к ранее поставленной рейке гвоздями 3x60 (80 мм) с шагом 100-120 мм, а затем к шпангоутам шурупами 4x45 мм (рис. 250).

Рейки нужно напилить из сухих сосновых досок (годится кедр, лиственница) толщиной 25 мм, с учетом запаса на их прострагивание (3-4 мм) и на окончательную зачистку обшивки.

Начинают обшивать корпус с прилегающего к килю шпунтового пояса. Его лучше заготовить из доски шириной 150 мм. Благодаря тому, что эту доску можно сузить к форштевню, последующие рейки уже не нужно будет уменьшать по ширине в носу.

Конструкция набора корпуса, пригодная как для реечной, так и для клинкерной обшивки, показана на приводимых чертежах. Характерной ее особенностью являются натесные шпангоуты, составные части которых, как и во многих лодках местных типов, выпиливают из досок и соединяют между собой на накладках той же толщины. Если для изготовления шпангоутов используется дуб или ясень, заготовки делают толщиной 22-24 мм; если же применяется сосна, то толщиной 28- 30 мм. При разметке на доске, детали надо располагать таким образом, чтобы перетес волокон древесины был минимальным, иначе шпангоуты могут получить трещины (особенно при аварийных обстоятельствах, например при посадке на мель при волне). В лучших конструкциях натесные шпангоуты выполняют трехслойными, заменяя вкладки приклеенными с обеих сторон шпангоута полосами водостойкой фанеры толщиной 4-6 мм.

Шпация - расстояние между шпангоутами - принята такой же, как и на многих народных лодках - 600 мм.

Корпус с обшивкой кромка на кромку. Доски обшивки при этом способе проклепывают по кромкам, поэтому корпус обладает достаточной жесткостью без постановки дополнительных (сверх показанных на рис. 250) шпангоутов. Для этого необходимы сосновые или еловые доски толщиной 20 мм (в чистом виде). Ширина доски в средней части длины корпуса должна составлять 120- 150 мм.
 

Рис. 250. Конструкция закладки, поперечные сечения и набор палубы катера (указаны сечения заготовок). 1-водорез 50X35 (дуб); 2 - форштевень 75X100 (ель, дуб); 3 - нижняя часть форштевня 70Х 150 (ель, дуб); 4 - кноп 40X 70; 5 - болты Мб с прямоугольной головкой; 6 - резен-киль ЗОХ 120; 7 - киль 40X 280; 8 - фундаментный брус 28X 220; 9 - дейдвудный брус 100X 100; 10 - кормовая часть киля 40X 25; 11 - старн-кница (сварная из листа, 6 = 4; труба гельм-порта 32X3); 12 - флор, 6 = 28; 13 - топтимберс, 6= =28; 14 - бимс, 6 = 25; 15 - рейка 28X 28; 16- доска 11X90; 17 - доска 11X75; 18 - флортимберс, в = 28; 19 - накладка шпангоута, 6 = 28; 20 - бимсовая кница, 6 = 28; 21 - комингс рубки, 6 = 17; 22 - шельф рубки 22X 50; 23 - бимс рубки 22X 40; 24 - крыша рубки (вагонка, 6 = 12 -5-15); 25 - парусина, плащ-па-латка); 26 - буртик, г = 12; 27 - переборка каюты (вагонка, 6= 12+15); 28-наличник двери 15X60; 29 - брусок пайола 28X 25; 30 - стойка переборки 28X 28; 31 - бимс 28X 40; 32 - карленгс 28X 30; 33 - раскладка 10X70; 34 - настил палубы; 6 = 15; 35 - штапик, г = 22; 36 - комингс кокпита 15Х 110; 37 - карленгс 25X 40; 38 - привальный брус 28X 50; 39 - буртик 30X 30; 40 - обшивка транца, 6 = 16; 41 - стойка транца 22X 100; 42 - мидельвейс 22X 100; 43-бимс кокпита 28X60; 44 - подкрепление под битенг 22X 150; 45 - угольник крепления привального бруса к транну (сталь, 6 = 5); 46 - сухарь, 6 = 22; 47 - угольник 40X 40X 4; 48 - угольник под лапы двигателя 40Х40Х Х4; 49 - карленгс рубки 26X 60; 50 - промежуточные бимсы 25X 60; 51 - брештук, 6 = 40; 52 - подкладка под буртик

Рис. 250. Конструкция закладки, поперечные сечения и набор палубы катера (указаны сечения заготовок). 1-водорез 50X35 (дуб); 2 - форштевень 75X100 (ель, дуб); 3 - нижняя часть форштевня 70Х 150 (ель, дуб); 4 - кноп 40X 70; 5 - болты Мб с прямоугольной головкой; 6 - резен-киль ЗОХ 120; 7 - киль 40X 280; 8 - фундаментный брус 28X 220; 9 - дейдвудный брус 100X 100; 10 - кормовая часть киля 40X 25; 11 - старн-кница (сварная из листа, 6 = 4; труба гельм-порта 32X3); 12 - флор, 6 = 28; 13 - топтимберс, 6= =28; 14 - бимс, 6 = 25; 15 - рейка 28X 28; 16- доска 11X90; 17 - доска 11X75; 18 - флортимберс, в = 28; 19 - накладка шпангоута, 6 = 28; 20 - бимсовая кница, 6 = 28; 21 - комингс рубки, 6 = 17; 22 - шельф рубки 22X 50; 23 - бимс рубки 22X 40; 24 - крыша рубки (вагонка, 6 = 12 -5-15); 25 - парусина, плащ-па-латка); 26 - буртик, г = 12; 27 - переборка каюты (вагонка, 6= 12+15); 28-наличник двери 15X60; 29 - брусок пайола 28X 25; 30 - стойка переборки 28X 28; 31 - бимс 28X 40; 32 - карленгс 28X 30; 33 - раскладка 10X70; 34 - настил палубы; 6 = 15; 35 - штапик, г = 22; 36 - комингс кокпита 15Х 110; 37 - карленгс 25X 40; 38 - привальный брус 28X 50; 39 - буртик 30X 30; 40 - обшивка транца, 6 = 16; 41 - стойка транца 22X 100; 42 - мидельвейс 22X 100; 43-бимс кокпита 28X60; 44 - подкрепление под битенг 22X 150; 45 - угольник крепления привального бруса к транну (сталь, 6 = 5); 46 - сухарь, 6 = 22; 47 - угольник 40X 40X 4; 48 - угольник под лапы двигателя 40Х40Х Х4; 49 - карленгс рубки 26X 60; 50 - промежуточные бимсы 25X 60; 51 - брештук, 6 = 40; 52 - подкладка под буртик

Рис. 251. Два способа сборки киля: а - с резен-килем из доски; б - с боковыми рейками.  1 - киль: 2 - резен-киль; 3 - болт Мб, шаг 200-250; 4 - рейка 40X30; 5 - шуруп 5X80, шаг 120.

Рис. 251. Два способа сборки киля: а - с резен-килем из доски; б - с боковыми рейками.  1 - киль: 2 - резен-киль; 3 - болт Мб, шаг 200-250; 4 - рейка 40X30; 5 - шуруп 5X80, шаг 120.

Рис. 252. Детали форштевня. 1- водорез; 2 - собственно форштевень; 3 нижняя часть форштевня; 4 - кноп

Рис. 252. Детали форштевня. 1- водорез; 2 - собственно форштевень; 3 нижняя часть форштевня; 4 - кноп

К шпангоутам, килю и штевню обшивку крепит шурупами 5x45, а по кромкам проклепывают гвоздями-заклепками (лучше всего медными) диаметром 3,5-4 мм. Под гвозди необходимо предварительно просверлить отверстия несколько меньшего диаметра; после постановки внутренние концы гвоздей нужно расклепать на шайбах.

Корпус с дощатой обшивкой вгладь. При этом способе обшивки смежные поясья не имеют между собой никакой связи, кроме как через шпангоуты. При шпации 600 мм и толщине обшивки 20 мм особенно беспокоиться за прочность корпуса не приходится, но не исключено появление течи по пазам даже при самой плотной конопатке. В конструкции некоторых народных лодок с такой обшивкой применяют дополнительные элементы - треугольные рейки-ласты, которые закрепляют частыми металлическими скобами в разделанных снаружи пазах обшивки. Лучше

же всего поставить по одному гнутому шпангоуту между указанными на чертежах натесными шпангоутами, либо вообще все шпангоуты выполнить гнутыми. Шпация в этом случае составит 300 мм, толщину обшивки можно уменьшить до 15-17 мм.

Заготовки гнутых шпангоутов выпиливают из дубовых, ясеневых (сечением 16x30 мм) или еловых (сечением 18x35 мм) реек, распаривают и ставят в корпус, после того как вся обшивка собрана на временно установленных лекалах илй натесных основных шпангоутах. При варианте с гнутыми шпангоутами вес корпуса получится меньше.

Коротко остановимся теперь на изготовлении отдельных важнейших деталей корпуса.

Киль (рис. 251) можно сделать по любому из показанных на рисунке способов Состоит киль из поставленного на ребро бруса, или собственно киля, толщиной 40 мм и резенкиля - прикрепленной к верхней его кромке доски, изгибаемой на пласть, либо двух реек по бокам. Выбор зависит от возможностей строителя, но конструкция с рейками требует плотной подгонки и большого количества крепежа, чтобы предотвратить возможную течь по пазам между килем и рейками (этот вариант хорош при использовании водостойкого клея).

Рис. 253. Детали рубки. 1 - бортовой комингс (сосна, б = 17, или фанера, б = 8-4-12); 2 - носовой комингс; 3 - обделка комингса (дуб, ясень); 4 - стойка рубки (сосна); 5 - накладка 30X30 (сосна); 6 - органическое стекло, б = 5-j-6; 7 - уплот-нительная резина 2X35; 8 - полоса 2X24 (алюминий, латунь); 9 - шуруп 3X15.

Рис. 253. Детали рубки. 1 - бортовой комингс (сосна, б = 17, или фанера, б = 8-4-12); 2 - носовой комингс; 3 - обделка комингса (дуб, ясень); 4 - стойка рубки (сосна); 5 - накладка 30X30 (сосна); 6 - органическое стекло, б = 5-j-6; 7 - уплот-нительная резина 2X35; 8 - полоса 2X24 (алюминий, латунь); 9 - шуруп 3X15.

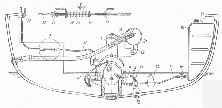
Рис. 254. Монтажный чертеж механической установки с двигателем CM-557J1.

Рис. 254. Монтажный чертеж механической установки с двигателем CM-557J1.

Рис. 254. Монтажный чертеж механической установки с двигателем CM-557J1.

1 - двигатель; 2 - фундаментный брус; 3 - соединительная муфта (поставляется с двигателем); 4 - дейдвудный сальник (поставляется с двигателем); 5 - накладка дейдвуда 120Х 120; 6 - гребной вал 0 20; 7 - кронштейн вала; 8 - гребной винт; 9 - подушка 20X 120X 150; 10 - винт М8; 11 - резино-металлический подшипник; 12 - парусина на сурике; 13 - планка 6X 100X 100; 14 - прокладка резиновая; 15 - шпилька М6Х30 (4 шт.); 16 - угольник фундамента 4X40X 40, / = 450; 17 - болт М8Х 45 (8 шт.); 18 - прокладка регулировочная 60X 40X 10 (бакелизированная фанера, дуб); 19 - шуруп 8X60; 20 - выхлопной патрубок 32X1 (приваривается к глушителю); 21 - глушитель; 22 - манетка газа (поставляется с двигателем); 23 - рычаг реверса; 24 - опора рычага реверса; 25 - пайол; 26 - рычаг реверса; 27 - боуденовская оболочка (от мотоколяски СЗА); 28 - вилка; 29 -тяга реверса (труба 18X1); 30 - скоба крепления боуде-новской оболочки; 31 - шланг дюритовый 0 18 подугловой Ду15 (ВН 515-56); 33 - водозаборный раструб с фланцем крепления клапана к обшивке; 34 - винт М6Х50; 35 - решетка, в - 1,5 -4-2; 36 - выхлопная труба 32X 1; 37 - хомутик дюритового соединения; 38 - дюритовая муфта 0 32, / = 200; 39, 40 - патрубок с фланцем 0 90X3; 41 - накладка 0 90X2; 42 - прокладка (парусина на сурике или стеклоткань на эпоксидном компаунде); 43 - асбестовая изоляция; 44 - упор оболочки; 45 - трос сцепления; 0 1,8-2; 46 - опора валика реверса; 47 - стопорное кольцо; 48 - валик реверса 0 15; " - муфта ; 50 - шпонка 4X4X15 (2 шт.); и, - отвод охлаждающей воды из глушителя (труба 18Х 1); 52 - кингстон охлаждающей воды в сборе; 53 - топливный трубопровод; 54 - подвод охлаждающей воды к глушителю (шланг 0 18);55 - штуцер прямой; 56 - штуцер подвода воды к насосу охлаждающей воды; 57 - трос управления дроссельной заслонкой карбюратора (в боуденовской оболочке); 58 - возвратная пружина; 59 - трос газа 0 1,8 - 2; 60 - упор возвратной пружины (припаивается к тросу газа); 61 - угольник крепления боуденовской оболочки газа; 62 - сварной угловой патрубок из трубы 42X2; 63 - топливный фильтр; 64 - запорный кран; 65 - бензобак.

Рис. 254. Монтажный чертеж механической установки с двигателем CM-557J1.

На конструктивном чертеже (см. рис. 250) указана высота киля (вместе с резен-килем) на каждом шпангоуте. Резен-киль имеет постоянную ширину 120 мм и сужается лишь в месте соединения с форштевнем (до 70 мм). В корму от 7-го шпангоута резен-киль нужно сострогать до толщины 25 мм.

Форштевень (рис. 252) собирают из четырех частей. Для их изготовления необходимо предварительно вычертить в натуральную величину обвод форштевня по теоретическому чертежу и перенести на плаз размеры всех его деталей, руководствуясь эскизом конструкции. По полученной разметке детали предварительно обрабатывают, после чего плотно подгоняют одна к другой. Наиболее сложное дело - выбрать шпунт, т. е. сделать выемку для досок обшивки в нижней части форштевня; эту работу начисто нужно сделать уже на стапеле. Водорез 1 привинчивают к форштевню после установки всех поясьев обшивки.

Шпангоутные рамки. Для их разметки также необходимо вычертить плазовый чертеж в натуральную величину и отложить внутрь обвода толщину наружной обшивки. Это можно сделать с помощью циркуля или гибкой рейки с приклеенными к одной ее стороне брусочками (см. рис. 50).

Накладки, флоры и бимсовые кницы проклепывают медными гвоздями-заклепками диаметром 4-5 мм с прокладкой шайбы под расклепываемый конец (можно применить и стальные оцинкованные болты). На соединения необходимо ставить столько заклепок, чтобы каждая деталь крепилась не менее чем тремя заклепками. Топтимберсы каждого шпангоута нужно связать временной поперечиной - шергень-планкой на высоте 800 мм от ОЛ.

Обшивка транца, которую рекомендуется выполнить в шпунт, собирается одновременно с обвязкой прямо на плазе.

Сборка корпуса. Корпус удобнее собирать в положении вниз килем, установив сначала на стапеле по данным теоретического чертежа закладку: киль с резен-килем, форште-рень и транец (см. главу 2).

Шпангоутные рамки после проверки их положения крепят к резен-килю при помощи стальных угольников-коротышей (см. рис. 250, узел V) или путем пропускания двух болтов М6 вертикально сквозь флоры. Угольники желательно ставить и в соединениях привального бруса со шпангоутами.

Рис. 255. Схема охлаждаемого глушителя. 1 - выпуск воды (труба 18Х 1); 2 - наружный кожух (сталь, б = 1); 3 - корпус глушителя (сталь; 6 = 2); 4- соединительные планки 2X20 (8 шт.); 5 - отвод воды в выхлопную трубу (труба 15X1); 6 - неохлаждаемая часть выхлопной трубы; 7 - угловой патрубок с фланцем крепления к двигателю.

Рис. 255. Схема охлаждаемого глушителя. 1 - выпуск воды (труба 18Х 1); 2 - наружный кожух (сталь, б = 1); 3 - корпус глушителя (сталь; 6 = 2); 4- соединительные планки 2X20 (8 шт.); 5 - отвод воды в выхлопную трубу (труба 15X1); 6 - неохлаждаемая часть выхлопной трубы; 7 - угловой патрубок с фланцем крепления к двигателю.

Бимсы палубы. Концы холостых бимсов врезают в привальный брус (узел VI на чертеже конструкции). Бимсы на 1, 2, 3-м шпангоутах ставят при сборке шпангоутных рам.

Рубку (рис. 253) монтируют после установки настила палубы, собираемого из досок толщиной 15 мм под конопатку, установки карленгса 32 (см. рис. 250) и монтажа переборки на 5-м шпангоуте. В носу "оформителем" рубки является носовой наклонный комингс (см. рис. 253). На чертеже деталей рубки приведены истинные размеры носового комингса, по которым его и нужно собирать из 17-миллиметровых досок или фанеры толщиной 8-12 мм. Желательно установить еще одну временную рамку у 4-го шпангоута, чтобы придать бортовому комингсу изгиб. Бимсы рубки размечают так же, как и бимсы корпуса, и врезают концами в шельф (в "ласточкин хвост"). Обшивать крышу рубки можно фанерой толщиной 6 мм, вагонкой или рейками толщиной 12 мм. В любом случае крышу и палубу желательно обтянуть парусиной (на жидкой шпаклевке), закрепив ее штапиками и буртиками (см. стр. 57).

Механическая установка (рис. 254). Наиболее доступным из стационарных двигателей, имеющих мощность 10-30 л. с. и пригодных для установки на катере "Тюлень", является двухтактный двигатель CM-557J1. Этот двигатель имеет малые габарит и вес, достаточную мощность (13,5 л. е.), вполне надежен. Если примириться со сравнительно большим расходом топлива (почти 8 л/час), то единственным недостатком двигателя будет невозможность снимать с него полную мощность из-за слишком высокого числа оборотов.
Максимальный коэффициент полезного действия гребного винта, который может быть получен при таких оборотах и скорости около 15 км/час, будет составлять не более 0,48, да и то при условии замены штатного гребного винта новым с диаметром 300 мм и шагом 170 мм. В штормовую погоду тяги, развиваемой винтом, едва хватает для обеспечения нормальной управляемости. Достать же четырехтактные двигатели, работающие с меньшим числом оборотов (с редуктором), например такие, как Л-12, ПД-10М, АМ-407, не так-то просто. Поэтому и приводится чертеж установки с двигателем СМ-557Л.

Валопровод. Для валопровода используют детали (вал, муфта, дейдвудный сальник), поставляемые вместе с двигателем. Кронштейн гребного вала рекомендуется заменить; лучше поставить так называемый "закрытый" кронштейн, обеспечивающий лучшую защиту винта и опоры для руля от повреждений.

Дейдвудный сальник крепят к клиновому брусу, устанавливаемому на резен-киль. Способы пробивки и монтажа линии вала при таком варианте конструкции подробно описаны в главе 5. Следует заметить, что пробиваться линия вала должна весьма точно, так как подправлять ее можно лишь за счет толщины прокладок 18 под лапами двигателя (см. рис. 254) и под плитой кронштейна, а также за счет небольшого смещения сальника 4, которое допускается его креплением на шпильках. Лучше же дать валу большую свободу в сальнике и в кронштейне. Сальник можно прикрепить к металлической сварной коробке при помощи эластичного дюритового соединения, как показано на рис. 150, а кронштейн выполнить с регулируемым наклоном оси подшипника за счет поворота опорных плит относительно среднего болта. После окончательной центровки, когда гребной вал будет совершенно свободно проворачиваться рукой, просверливают отверстия под остальные болты, которые лучше поставить с плотной посадкой (см. рис. 149).

Топливная система. Расходный топливный бак нужно расположить в кокпите у переборки каюты. По длине бак должен размещаться в шпации между 5-м и 6-м шпангоутами; по ширине и высоте размеры его выбираются такими, чтобы он не мешал открыванию двери в каюту и устройству койки на сиденье кокпита. Максимальная емкость бака составляет около 48 л; этого достаточно для непрерывного 7-часового хода катера. Дополнительные емкости (или канистры) можно расположить под сиденьями кокпита и в ахтер-пике.

Система охлаждения двигателя. Для забора воды в систему охлаждения неплохо изготовить специальный кингстон - запорный клапан с коническим раструбом. Раструб нужен для того, чтобы уменьшить скорость потока воды на входе в систему, благодаря чему будет снижаться вероятность засасывания в трубопровод грязи. Клапан может быть применен любого типа; важно, чтобы его условный проход составлял 18 мм.

Из блока цилиндров вода поступает на охлаждение глушителя (рис. 255), а оттуда впрыскивается в выхлопной трубопровод и вместе с отработавшими газами выбрасывается за борт. Вся система монтируется из шлангов с внутренним диаметром 18 мм на дюритовых соединениях.

Впрыскивание воды в выхлопную трубу снижает и шум и температуру газов, поэтому изолировать (асбестовым шнуром и тканью) можно не всю выхлопную трубу, а только небольшой ее участок у глушителя. Лучше, если вода будет поступать через несколько отверстий, расположенных равномерно по окружности выхлопной трубы, но можно ограничиться и простым вводом трубки.

Выхлопная труба. Приводим здесь эскиз охлаждаемого глушителя, который крепится к фланцу выхлопной трубы двигателя с помощью углового патрубка (рис. 255). Для уменьшения габарита этот патрубок лучше сварить из отдельных колен, вырезанных из трубы сечением 42x2 мм, а не гнуть. Неох-лаждаемая часть выхлопной трубы (до ввода в нее воды) вваривается в глушитель и соединяется с основной трубой дюритовым соединением. Такое же соединение предусмотрено и при проходе этой трубы через борт, чтобы шум и вибрация не передавались на корпус катера.

В проекте предусмотрен вывод трубы на левый борт, так как по правому борту в кокпите должен оставаться свободный проход. Особое внимание нужно обратить на водонепроницаемость крепления выхлопной трубы к борту. Лучше всего здесь применить прокладку из стеклоткани на эпоксидном компаунде, набрав из слоев ткани слой, необходимый для плотного прилегания фланца трубы к обшивке. Разумеется, неплохо было бы вывести выхлопную трубу через транец, так как тогда меньше будет пачкаться борт, а дым не попадет в кокпит, однако труба при этом получится тяжелее и займет в катере больше места.

Дистанционное управление. При этом способе управления манетка газа, имеющаяся в комплекте двигателя, крепится на комингсе рубки под левой рукой рулевого. Тросик газа заменяется более длинным, заключенным в боуденовскую оболочку. Для преодоления трения тросика в оболочке, необходимо поставить возвратную пружину (непосредственно у карбюратора или, как это показано на рис. 254, на стенке рундука кокпита).

Рычаг реверса располагается по правую руку от рулевого. Подключение к двигателю осуществляется валиком 48 с муфтой, надеваемой на место штатного рычага реверса.

Для устранения люфта трубчатая тяга 29 снабжается (на одном конце) вилкой с резьбой, позволяющей регулировать длину тяги. Для рычага реверса используется штатная ручка, к которой подводится трос сцепления в боуде-новской оболочке.

При установке других двигателей добавляется немало забот о реверсивном устройстве, упорном подшипнике гребного вала, о редукторе. Желательно получить на гребном винте катера "Тюлень" 1500-2000 об/мин.

 

Читать далее про то как построить лодку, катер, яхту

 

p.s. При копировании материалов и фотографий ссылка на сайт обязательна.

Саратов 2007-2015 г.

 

Автохимия для автомобиля

Автошампуни, бесконтактную активную пену купить в Москве, Ростове-на-Дону,  Саратове, Кирове, Самаре, Томске, Новосибирске с доставкой в регионы, активная пена купить, бесконтактная химия и пена от производителя

Большой выбор бесконтактной автохимии для автомоек

 
Автохимия для автомобиля

Автошампуни для прфессиональной ручной мойки от призводителя купить в Саратове с доставкой в регионы, как отмыть автомобиль ручным автошампунем, теория мойки автомобилей, как отмыть автомобиль и сделать ему химчистку

Автошампуни для профессиональной ручной мойки от призводителя

Автохимия для автомоек Технология бесконтактной мойки автомобилей, купить активную пену в Саратове, как отмыть активной пеной автомобиль, технология бесконтактной мойки автомобилей и грузовых машин

Технология бесконтактной мойки и моющие средства, активная пена

МСредства для вагонов Технология наружной обмывки пассажирских вагонов, как отмыть вагон от загрязнений, мойка подвижного состава, мойка локомотивов, купить моющие средства для наружной мойки вагонов

Как отмыть ЛКП пассажирского железнодорожного вагона

МСредства для вагонов Купить эффективные моющие средства для наружной обмывки пассажирских вагонов с атикором от производителя с разрешением ВНИИЖТ к применению на РЖД

Эффективные моющие средства для наружной обмывки вагонов

МСредства для вагонов

Как отмыть крышу пассажирского вагона, чем отмыть ЛКП пасажирского вагона, технология наружной мойки пассажирских вагонов

Моющие средства для мойки крыш железнодорожных вагонов

Химия для катеров Как отмыть днище катера от водорослей, ракушек, органических и известковых отложений, технология мойки катеров, яхт, лодок, купить моющие средства для катеров и лодок с доставкой, эффективные моющие средства для мойки катеров, технология отмывки днища катера от водорослей и зеленого налета, мойка пластиковых катеров, мойка алюминиевых катеров и лодок, специальная паста для мойки катеров

Мойка катеров, специальная химия для мойки катеров

Ультразвуковая очистка Ультразвуковая очистка деталей инструмента, хирургического инструмента, различных мелких деталей сложной конфигурации и сильно загрязненных, купить моющие средства для ультразвуковой очистки деталей

Моющие средства для ультразвуковой очистки деталей

Ультразвуковая очистка

Чистка монет и различных старинных изделий из бронзы, платины, меди, моющие средства для ультразвуковой очистки изделий из цветных металлов купить с доставкой в Саратове, кислотные моющие средства для ультразвуковой очистки изделий из металлов в ультразвуковой ванне

Моющие средства для ультразвуковой очистки старинных изделий из меди и бронзы

Ультразвуковая очистка Как восстановить старый картридж струйного принтера от засохших чернил, промывка и очистка сопел картриджа струйного принтера для заправки чернилами, мойка и промывка картриджей в ультразвуковой ванне, купить моющие средства для ультразвуковых ванн

Очистка картриджей струйных принтеров, моющие средства для УЗО

Ультразвуковая очистка Как очисткить печатные радиоэлектронные платы после монтажа от флюса, канифолного лака, канифоли, остатков травильных растворов в ультразвуковой ванне с помощью ультразвука и специализированных моющих средств, купить моющие средства для ультразвуковой очистки печатных плат

Печатных радиоэлектронных плат, радиодеталей, моющие редства для УЗО

Ультразвуковая очистка Ультразвуковая очистка деталей и изделий из силумина, алюминия и его сплавов в ультразвуковой ванне с помощью специализированных моющих средств для ультразвуковой очистки алюминия

Ультразвуковая очистка алюминиевых деталей и силумина, моющие средства для УЗО

Ультразвуковая очистка Как самостоятельно очистить форсунки инжектора автомобиля, очистка форсунок своими руками в гараже, ультразвуковая очистка форсунок, промывка форсунок, моющие и чистящие жидкости, промывочные жидкости для очистки форсунок в ультразвуковой ванне купить в Саратове с доставкой в регионы

форсунок инжекторов дизельных и бензиновых двигателей

Ультразвуковая очистка Тестирование форсунок на производительность тестовыми жидкостями на стендах, проверка форсунок на стедах тестирующими и тестовыми жидкостями, купить тестовые жидкости для стендов с доставкой

и тестирование форсунок на стендах, тестовые жидкости для форсунок

  

300 практических советов владельцам катеров и яхт   Теория постройки лодки и яхты, катера, материалы

Водный транспорт, теория и практика, все о морских и речных судах  Управление судном, общая лоция, правила плавания, основы судовой речной практики

  На главную страницу


Авиатехника, Железнодорожная техника, Автотехника, Водная техника, Космическая техника, Военная техника, Сельскохозяйственная техника, Бытовая техника, Радиоэлектроника, Электрика, Энергетика, Механика, Мебель своими руками, Строительство, Ремонт, Приусадебное хозяйство, Инструменты, Полезные советы, Конструктор-конструктору, Технические статьи, Исторические хроники, Неопознанное, Из области фантастики, Полезные ссылки, Обмен ссылками, Размещение статей, рекламы
 


Смотрите также интересные ссылки:
Автохимия для авто  Мойка вагонов, разработки для железнодорожного транспорта и метрополитена  Бесконтактная мойка авто и транспорта  Средства для Ультразвука и ультразвуковых ванн   Дезинфицирующие средства